|
|
 |
| 首页 > 产品中心 > 产品中心 |
| |
名 称: |
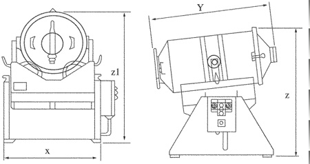
EYH二维运动混合机 |
| |
产品类型:
|
混合系列
|
|
|
 |
 本机广泛用于医药、化工、食品、染料、化肥、农药等行业。尤其适用于大吨位(1000L-10000L)各种固箱物的混合。
本机混合筒在传动的同时又参与摆动,使筒中物料得以充分混合。混合筒的出料口偏离混合筒圆筒部分中心线,使该机具有混合迅速、混合量大、出料便捷等特点。 |
 |
|
|
 |
|
型号 |
料筒 容积(L) |
装料 容积(L) |
最大装料量(kg/批) |
摇动、转动次数r/min |
电机总功率(kw) |
外型尺寸X×Y×Z×Z1(mm) |
总重量(kg) |
料筒重量(kg) |
|
EYH-10 |
10 |
5 |
2.5 |
85 |
0.021 |
310×400 ×450×395 |
15 |
4 |
|
EYH-30 |
30 |
15 |
7.5 |
61 |
0.19 |
540×580 ×900×700 |
60 |
8.5 |
|
EYH-60 |
60 |
30 |
15 |
50 |
0.4 |
700×730 ×1100×990 |
115 |
15 |
|
EYH-150 |
150 |
75 |
37.5 |
37 |
1.15 |
800×1050 ×1450×1340 |
190 |
50 |
|
EYH-300 |
300 |
150 |
75 |
30 |
1.15 |
900×1350 ×1550×1400 |
340 |
60 |
|
EYH-600 |
600 |
300 |
150 |
23.6 |
3 |
1170×1640 ×2050×1910 |
1150 |
140 |
|
EYH-800 |
800 |
400 |
200 |
19.8 |
3 |
1320×1950 ×2150×2000 |
1600 |
200 |
|
EYH-1000 |
1000 |
500 |
250 |
19.8 |
3 |
1360×2040 ×2300×2170 |
1700 |
240 |
|
EYH-1500 |
1500 |
750 |
375 |
16.2 |
4.4 |
1580×2400 ×2550×2330 |
2000 |
320 |
|
EYH-2000 |
2000 |
1000 |
500 |
16.2 |
7.4 |
1740×2600 ×2770×2550 |
2600 |
430 |
|
EYH-3000 |
3000 |
1500 |
750 |
13.8 |
11 |
1800×2900 ×2950×2800 |
3500 |
620 |
|
EYH-4000 |
4000 |
2000 |
1000 |
12.8 |
13 |
1970×3300 ×3300×2950 |
4100 |
700 |
|
EYH-6000 |
6000 |
3000 |
1500 |
11.2 |
18.5 |
2300×2900 ×3800×3100 |
6100 |
1100 |
|
EYH-8000 |
8000 |
4000 |
2000 |
10.4 |
22 |
2540×4100 ×4050×3650 |
7900 |
1450 |
|
EYH-10000 |
10000 |
5000 |
2500 |
9 |
30 |
2900×4500 ×4400×4020 |
9500 |
1650 | | |
|