|
|
 |
| 本机用于制药、化工、食品等行业两种以上的干粉状、颗粒状物料的混合。 |
 |
混和筒结构独特、混和功效高、无死角、筒体用不锈钢材料制作、内外壁抛光、外形美观、混和均匀、用途广泛,符合GMP标准。并能根据客户要求配套强制搅拌器,以适合较细的粉粒、块状含有一定水分的物料混合之用。 |
 |
|
型号 |
VHJ-2500 |
VHJ-1500 |
VHJ-1000 |
VHJ-500 |
VHJ-300 |
VHJ-180 |
|
生产能力(kg) |
500 |
300 |
200 |
100 |
80 |
40 |
|
配用真空泵型号 |
W3 |
W3 |
W |
W2 |
|
|
|
进料时间(min) |
8-12 |
6-10 |
6-9 |
4-6 |
|
|
|
混合时间(min) |
6-10 |
6-10 |
6-10 |
6-10 |
6-10 |
4-8 |
|
全容积(m3) |
2.5 |
1.5 |
1.0 |
0.5 |
0.3 |
0.18 |
|
搅拌转速(r/min) |
12 |
12 |
12 |
12 |
12 |
12 |
|
电机功率(kw) |
7.5 |
4 |
4 |
2.2 |
1.1 |
1.1 |
|
外形尺寸(长×宽×高)(mm) |
3900×1990 ×3790 |
3190×1990 ×3790 |
2975×1660 ×3000 |
2500×1220 ×2420 |
1880×650 ×1850 |
1780×650 ×1750 |
|
回转总高度(h) |
3790 |
3790 |
3000 |
2420 |
1820 |
1750 |
|
重量(kg) |
2040 |
2040 |
950 |
550 |
320 |
280 | |
 |
|
|
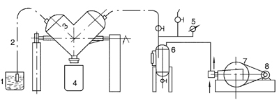
| 1.物料筒 |
| 2.吸料筒 |
| 3.混合机 |
| 4.出料筒 |
| 5.真空表 |
| 6.气体净化罐 |
| 7.真空泵 |
| 8.电动机 | | |